学校首页

永利集团3044欢迎你承办第十二届蓝桥杯全国软件和信息技术专业人才大赛参赛学生成绩斐然

  • 2021.05.10
  • 教学科研

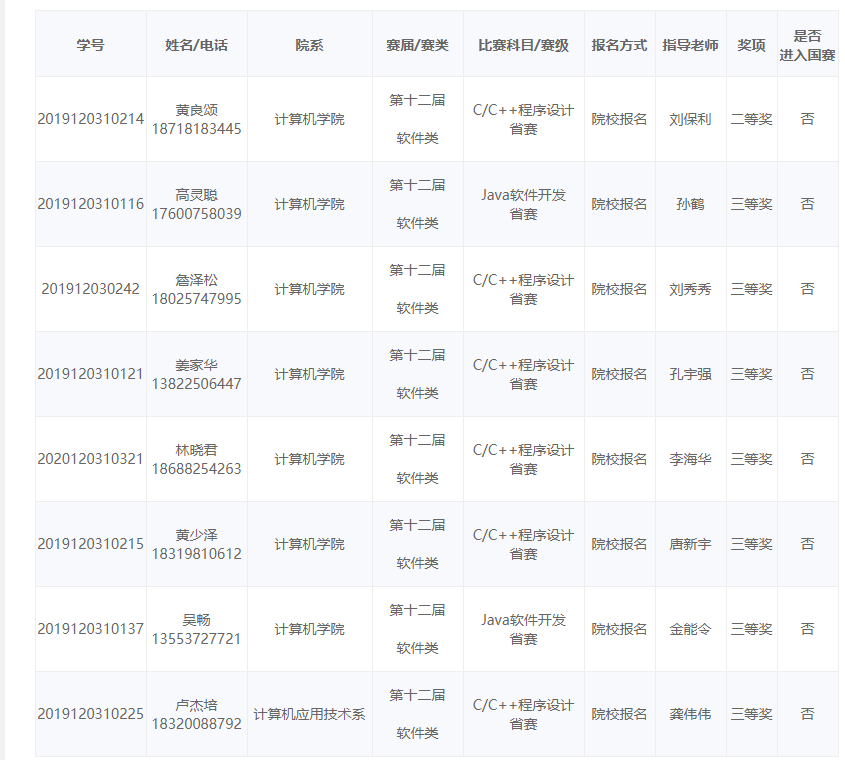
5月9日,永利集团3044欢迎你承办的第十二届蓝桥杯全国软件和信息技术专业人才大赛在明辨楼105室举行。永利集团3044欢迎你参赛的学生成绩斐然,取得1个二等奖,7个三等奖的好成绩。(撰稿:李松生)

      获奖信息如下图:

图为考试现场

图为监考老师

图为监考老师

Baidu
sogou